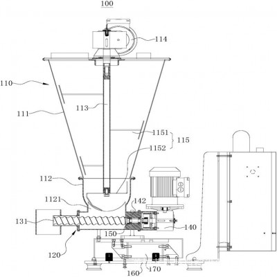
菲斯特连续式失重秤,减量秤精度高,运行稳定,3年质保



¥16000.00/件
¥10000.00/件
¥16000.00/件
¥10000.00/件



| 公司名 | 潍坊菲斯特自控设备有限公司 | 经营模式 | |
|---|---|---|---|
| 注册资本 | 未填写 | 公司注册时间 | 2009 |
| 公司所在地 | 山东/潍坊市 | 企业类型 | 企业单位 () |
| 保 证 金 | 已缴纳 0.00 元 | 资料认证 |
企业资料通过认证 |
| 主营行业 | 辅助设备 , | ||
| 主营产品或服务 | 磁选设备 皮带秤 脱硫除尘设备 | ||
您还未登录,请先登录。
面议
面议
面议
¥100.00/件
¥100.00/件